Draagsysteem 100
Draagprofiel TP 100
Toepassing
Multifunctioneel draagprofiel voor het vervaardigen van stalen frames en constructies. Ontwikkeld voor het maken van zowel tweedimensionale als complexe driedimensionale constructies.
Het draagprofiel is geschikt voor een groot aantal toepassingen met veeleisende belastingssituaties, zoals bijvoorbeeld grote overspanningen of sterk belaste constructies.
Technische gegevens
| Type | Weerstands- moment [cm3 ] | Massatraagheids- moment [cm4 ] | Traagheids- straal [cm] | Torsie- moment lt [cm4 ] | Doorsnede A [cm2 ] |
|---|---|---|---|---|---|
| TP 100 | Wy: 71,00 Wz: 26,70 | ly: 341,00 lz: 133,00 | iy: 4,14 iz: 2,59 | 5,15 | 19,0 |
Alle waarden houden rekening met de gaten in het profiel.
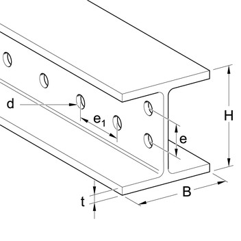
| Type | H [mm] | B [mm] | t [mm] | d [mm] | e [mm] | e1 [mm] |
|---|---|---|---|---|---|---|
| TP 100 | 96 | 100 | 8 | 13,5 | 50 | 32 |
| Materiaal: | staal, HCP |
Ook leverbaar met DUALSHIELD C5H-oppervlak voor zeer corrosieve omgevingen.