siFramo 80
End Support STA F 80
Application
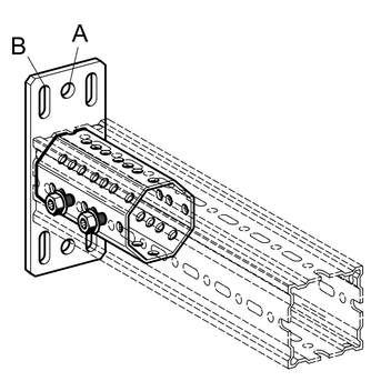
Plug-in component designed to create an endplate at the open end of a Beam Section TP F80 or a Cantilever bracket AK F80. By means of the round holes in the base plate a direct connection to excisting cast-in channels is possible.
Installation
Depending on the version, following mountings solutions are possible:
| a) | With 2x4 Self Forming Screws FLS when used to connect 2 Beam Sections. |
| b) | With 4 Self Forming Screws FLS applied to the octagonal insert and 2 suitable wall anchors/fixings when connected to the building structure. |
The Beam Section TP F 80/80 connected to the End Support STA F 80 has to be screwed with 4 Self Forming Screws FLS F. On each of the opposite sides 2 Self Forming Screws FLS F are necessary.
Technical Data
| Type | Dimensions of Base plate [mm] | A [mm] | B [mm] | H [mm] |
|---|---|---|---|---|
| STA F 80 | 190 x 80 x 8 | 14 | 20 x 11 | 148 |
| STA F 80-E | 165 x 80 x 8 | - | 20 x 11 | 148 |
| Configuration: | Base plate welded to octagonal element F 80 |
| Material: | |
| Plate: | Steel, HCP |
| Octagonal element: | Steel, HCP |
Also available with DUALSHIELD for high corrosion protection within C5H environments.
Approvals / Conformity
CE mark (Declaration of performance see www.sikla.com/downloads)
ETA-24/0471
![]()
Declaration of performance End Support STA F PDF | 189.6 KB
